现将本次网上填报志愿有关事宜公告如下:
一、网上填报志愿的批次及科类
批次:本科提前批A、专科提前批。
科类:文科、理科、蒙授文科、蒙授理科。
二、网上填报志愿的条件
1、考生状态必须是自由可投,其投档分(即高考总分加政策性加分,下同)(报考高水平运动队考生除外)须达到相应批次、科类最低控制分数线。报考高水平运动队考生投档分(实际高考总分,不含政策性加分) 须达到报考院校录取最低要求。
2、填报过军事、公安、中国消防救援学院、司法行政院校、北京电子科技学院等意向类别,并且政治考核(考察)、面试、体检、体能测试合格的考生,可填报相应批次、科类的具体院校和专业志愿。其中,意向填报了国家专项的考生,可填报国家专项计划具体院校志愿,也可填报本意向类别非国家专项计划具体院校志愿,国家专项计划与非国家专项计划择其一填报,即:公安(国家专项计划)类可填报公安类,司法行政院校(国家专项计划)类可填报司法行政院校,北京电子科技学院(国家专项计划)可填报北京电子科技学院,鼓励此类考生优先填报国家专项计划。填报了本科提前批A(一本)意向的考生可以在同类意向中本科提前批A(一本)、本科提前批A(二本)或专科提前批次择其一填报具体院校,填报了本科提前批A(二本)意向的考生可以在同类意向本科提前批A(二本)和专科提前批次择其一填报具体院校,填报了专科提前批意向的考生仅可在同意向专科提前批填报具体院校,除此以外,均不得跨意向类别填报。已经参加新疆警察学院公务员录用考试合格的考生,院校志愿只能填报新疆警察学院,专业志愿只能填报参加公务员考试时所报职位的对应专业。战略支援部队信息工程大学(院校代号789、LU9)对政治条件有特别要求的专业,即除地理测绘导航类(测绘工程专业、遥感科学与技术专业、导航工程专业、测控技术与仪器专业、地理科学专业、作战环境工程专业)以外专业,相关合格考生方可填报。
3、填报高校专项计划、高水平运动队志愿的考生必须已经获得对应招生院校的相应招生资格。
4、填报地方免费师范生(即委托内蒙古师范大学、内蒙古民族大学等高水平师范院校培养的“公费定向培养师资计划”)、地方优师专项计划(即培养工作由内蒙古师范大学、内蒙古民族大学承担优师专项计划)的考生,必须是具有内蒙古自治区户籍的优秀高中应届毕业生。
5、填报国家免费医学生计划的考生,必须是高考报名时申报过“免费医学定向”报考资格并审核通过的考生。
三、网报志愿时间
1. 7月7日8:00开始填报志愿。10:00后不允许删除志愿,但可以继续新填志愿和修改志愿。10:30后既不允许删除志愿也不允许新填志愿,只允许修改志愿。
2. 9:00第一次发布网报志愿统计信息,以后每小时发布一次。
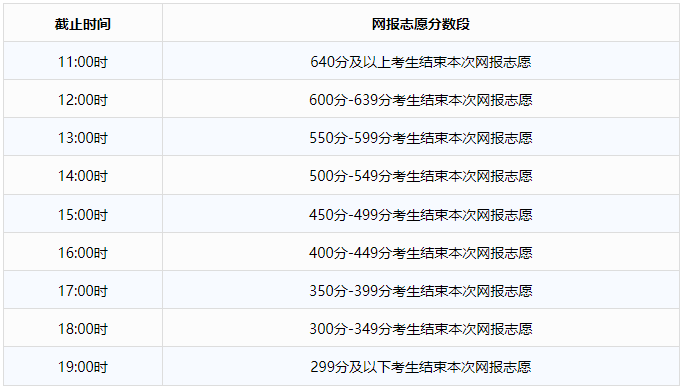
3. 网报志愿分段结束时间:

四、网上填报志愿流程
1、考生提前阅读《2023年内蒙古自治区普通高校招生计划》或阅读内蒙古招生考试信息网“平安高考”“填报志愿专栏”“2023年招生计划”中公布的相应招生计划,记录好拟报考院校和专业的代号;上网查询相关高校的招生章程。
2、登录“内蒙古自治区教育招生考试中心考生服务暨网上填报志愿平台”,在规定的时间内填报和修改志愿。
3、考生可以经常查看动态排名,在其对应分数段填报志愿截止前,根据排名、院校录取规则和专业要求等信息决定是否修改志愿;并根据本人提前准备拟报考院校名单或“填报志愿专栏”中最新发布的网报志愿阶段性统计信息选择修改到哪个院校或专业。
4、考生持本人准考证和居民身份证,在其对应分数段填报志愿截止前可以到旗县区教育招生考试机构打印《网上填报志愿确认信息表》。打印后本次填报的志愿信息将不能修改,否则,以最终网上填报志愿信息为准。
5、网上填报志愿全部结束后,公布网报志愿最终统计结果。
五、投档与录取
1、网报志愿结束后按公布的投档比例和招生计划数投档。院校在投档范围内按公布的录取规则进行录取,若院校不能完成招生计划,将再次组织网上填报志愿。按照相关规定,军队院校原则上应该按“分数清”录取,另有规定的,从其规定;总分(含政策性加分)成绩相同的依次比较单科成绩进行择优录取,其中文科专业比较顺序为语文、数学、外语,理科专业比较顺序为数学、语文、外语。
2、院校招生章程未明确录取规则的,或明确“执行内蒙古自治区教育招生考试中心制定的专业安排办法或录取规则”的,本科提前批A以投档分为排序成绩按招生计划1:1范围内专业志愿清的规则录取,专科提前批以投档分为排序成绩按专业志愿清的规则录取。
3、对于已投档考生,当考生录取排序成绩相同且安排录取专业出现竞争时,首先要执行国家所规定的相关优先录取政策,其次要执行高校招生章程中所明确的择优录取规定。若高校招生章程中未明确择优录取规定,则按如下规则择优录取:对文科和蒙授文科考生,依次按语文(蒙古语文甲或朝鲜语文,下同)、文科综合、外语、文科数学单科成绩择优录取;对理科和蒙授理科考生,依次按理科数学、理科综合、语文、外语单科成绩择优录取。
4、院校招生章程中有明确录取规则及平行分(同分)处置原则,但又出现“省(区、市)有相关规定的,执行省(区、市)相关规定”及“我校规定若与国家和各省(区、市)有关政策和文件有不一致之处,以国家和各省(区、市)有关政策和文件为准”等类似表述的,执行院校招生章程中的录取规则及平行分(同分)处置原则。
5、填报志愿结束后,考生如在录取过程中和结束后申请自愿放弃本次志愿,视为放弃本年度所有本科志愿的录取,仅可参加高职高专批志愿填报和投档录取。从2023年招生起,往年被面向农村和脱贫地区实施重点高校招生专项计划(包括国家、地方、高校三个专项计划)录取后放弃入学资格或退学的考生,不再具有专项计划报考资格。
6、若院校不能完成招生计划,将再次网上填报志愿。
六、注意事项
1、7月2日填报了本科提前批A艺术、体育类志愿的考生,7月6日18:00前考生状态不是自由可投的,不能参加本次网上填报志愿。
2、填报在我区有确定高校专项计划招生人数的志愿时(包括《2023年内蒙古自治区普通高校招生计划》公布的高校专项招生计划、网报志愿专栏公布的高校专项计划以及相应变更通知),考生须选择“一般统考生”招生类型进行填报,系统提供实时排名。
3、在填报志愿过程中,对按实考分(即不承认加分) 安排专业的院校或专业,如北京工业大学、北京师范大学、北京师范大学(珠海校区)、北京外国语大学、北京邮电大学、北京语言大学、黑龙江大学、南京大学、外交学院、香港城市大学、香港中文大学、中国地质大学(北京)等,投档分在上一结束分数段及以上的考生已经报满的专业,下面分数段的考生不能再填报。填报此种情况院校志愿的考生主要参考实考分实时排名。考生须慎重填报此类院校专业志愿,避免因实考分低导致不被录取、未被所报专业录取或者无法填报,由此造成的结果,由考生自负。建议具有高考加分的考生尽量避免填报上述不承认加分的院校或专业。
4、获得“本科提前批A特殊类型招生计划一览表”所列招生院校 “高水平运动队”招生资格的考生,欲填报这些院校“高水平运动队”招生志愿必须在本次填报相应志愿。考生应选择“高水平运动队”招生类型,仅能按照该表所列院校和专业代号进行填报。如考生拟报考院校明确了拟报考专业范围,应按相关专业范围填报。填报此类志愿,系统不提供实时排名。
5、填报志愿期间,若院校根据生源等情况调整招生计划、投档比例或其他相关内容,自治区将及时通过“填报志愿专栏”予以公布。考生必须经常查看该专栏公布的最新信息,并注意阅读网上填报志愿平台提示的最新消息。凡通过上述途径公布的信息视为已告知考生。
6、填报使用“专业志愿清”录取规则院校的考生,其专业排名与院校的录取顺序基本吻合;填报使用“分数清”“专业级差”等其它录取规则院校的考生,其排名信息仅供参考。填报按“招生计划数1:1范围内按专业志愿清”录取的院校,当院校排名超过计划数时需慎重考虑,使用该规则录取的院校,对已投档考生安排专业时,先将考生按排序成绩从高到低排序,并按同分择优规则等额确定招生计划数1:1范围内的考生名单,再对该名单考生按“专业志愿清”安排专业,如安排完专业后有考生被退档,则再将计划数1:1范围外的已经投档考生按排序成绩由高到低依次递补安排未完成录取计划的专业。
7、院校录取时,除了考虑考生的成绩排名外,还要考虑考生是否符合专业要求。因此,考生必须认真阅读所报院校招生章程中的录取规则和专业要求。考生凡填报限定生源范围的招生院校或专业时,填报志愿系统视情况对填报考生的来源范围加以限制,对于没有限制填报的情形,不代表符合相关录取条件, 因此,所提供的实时排名不能作为是否能被录取的依据。
8、本次填报的专科提前批文理科与本科提前批A文理科的志愿同时投档,考生只能选报其中一个批次。本科线上的考生若填报专科提前批志愿且被录取,则视为本人自动放弃本科院校录取权利、自愿就读专科院校或专业 。
9、香港中文大学和香港城市大学按照实际高考总分(不含政策性加分)排序投档,仅录取第一志愿考生;投档后若有退档,将顺延投档。请考生慎重填报,尤其是排名在招生计划数之外的考生,有可能被顺延投档、录取;按志愿和相关投档录取规则录取的考生, 一经录取,不得退档。
10、符合教育部相关优先录取条件的考生,按相关规定执行。
11、地方免费师范生、国家免费医学生和地方优师专项计划只录取有相应专业志愿的考生。
12、考生须在填报志愿规定时间内填报志愿,逾期不填报志愿者视为自动放弃本次填报志愿的权利。
13、高考报名时承诺只填报专科的考生,不能填报本科提前批A志愿,只能填报专科提前批志愿。
14、本科提前批A文理科院校分一本和二本,在《2023年内蒙古自治区普通高校招生计划》未明确的,以填报志愿时内蒙古招生考试信息网“填报志愿专栏”中最新公布的相关内容为准。
15、我区高考网报志愿过程简洁、信息透明,不存在暗箱操作空间。部分中介机构和个人夸大网报志愿的神秘性和复杂性,其目的就是借此机会牟取经济利益,考生不可听信任何中介机构或个人的所谓保证录取承诺。一些不法分子受经济利益驱使,利用考生和家长的急切心理,散布虚假信息、贩卖制造焦虑,针对志愿填报、招生录取等环节实施诈骗,严重扰乱考试招生秩序。为此,自治区教育招生考试中心会同有关部门,郑重提醒广大考生和家长,通过官方渠道查询、咨询有关信息,勿存侥幸心理、勿信不实信息,谨防上当受骗。如果遭遇诈骗事件,应及时向公安机关报案,维护自身合法权益!
16、不得使用非官方填报志愿程序填报志愿。当填报系统监测到有使用非官方程序时将自动使其退出系统,在5分钟内无法再次登录。
17、未尽事宜按《2023年内蒙古自治区普通高校招生网上填报志愿和投档录取工作实施办法》《内蒙古自治区2023年普通高等学校招生工作规定》等文件执行。
来源:内蒙古自治区教育招生考试中心
各位考生可【在线咨询老师】与专业的报名指导老师开展一对一交流,帮助考生攻克基础知识薄弱、攻坚考试重点难点等困难,得到专属于自己的解答。敬请关注我们吧!
以上就是关于“2023年内蒙古自治区普通高校招生网上填报志愿公告(第3号)”的全部内容,考生如果想获得更多关于内蒙古专升本院校、报名时间、常见问题、相关资讯,如专升本动态、招生简章、招生计划、考试科目、考试大纲等相关信息,敬请关注内蒙古专升本网(http://www.nmgzsb.cn/)

内蒙古专升本声明
(一)由于考试政策等各方面情况的不断调整与变化,本网站所提供的考试信息仅供参考,请以权威部门公布的正式信息为准。
(二)本网站在文章内容来源出处标注为其他平台的稿件均为转载稿,免费转载出于非商业性学习目的,版权归原作者所有。如您对内容、版权等问题存在异议请于我们联系,我们会及时处理。
文章来源于网络,如有侵权,请联系删除

报名官网
福利领取
报名条件
考试时间
志愿填报
考试科目 

